麻豆成人AV在线网,麻豆三级片在线观看,国产麻豆成人AV,91麻豆精品在线观看

    NEWS91麻豆精品在线观看分类

    PRODUCT国产麻豆成人AV分类

    CONTACT US联系麻豆成人AV在线网

    内蒙古麻豆成人AV在线网新材料科技有限公司

    姜经理:18547203964

    电话:0472-5213743

    网址:www.peinicike.com

    邮箱:nmshx2012@163.com

    地址:包头市九原区麻池镇东壕口村(南绕城公路29公里处)


    电渣熔焊工艺生产电解铝麻豆三级片在线观看的研究进展

    您的当前位置: 首 页 >> 91麻豆精品在线观看中心 >> 行业信息

    电渣熔焊工艺生产电解铝麻豆三级片在线观看的研究进展

    发布日期:2016-08-13 00:00 来源:http://www.peinicike.com 点击:

    内蒙古麻豆成人AV在线网新材料科技有限公司

     

    摘要:电解铝麻豆三级片在线观看是目前电解铝生产中预焙阳极电解槽的关键构件。其主要作用是连接阳极炭块,并给电解槽传输强大的直流电流。国内电解铝麻豆三级片在线观看主要采用中频炼钢+消失模铸造工艺生产,该种工艺生产的铸造钢爪主要存在导电性能差、力学性能差、焊接性能差、排放不达标等缺陷。因此,国内一些电解铝生产企业采用电焊生产麻豆三级片在线观看,但是由于焊接的截面积较大,人工电焊的强度很难保证。电渣熔焊利用强电流通过渣池而产生电阻热,可以瞬间将钢爪横梁底部与钢爪头上部各10mm的部分熔化,并与熔池内的液态金属结合,实现钢爪横梁与钢爪头的全截面熔焊。

    关键词:麻豆三级片在线观看,电渣熔焊,全截面焊接

    The research progress of Electroslag welding for the production of anode steel stub

     

    Abstract:Anode steel stub is a key part of pre-baked anode in primary aluminum production linking carbon anode and transmit power to potcells.At present, casting steel stubs are popular to be produced by intermediate frequency furnace and EPC casting .Some defects of casting steel stubs have been found due to restriction of casting process, such as high resistance,poor mechanical properties, poor welding performance,and excessive emissions etc. Accordingly, steel stubs are produced by manual welding instead of EPC casting in some of Al.Smelters in China. However,welding quality is difficult to guarantee for the large welding area. The bottom of the steel stub beam and the top of the steel stub column can be both melted about 10mm by Electroslag welding with the  heat that the current produces through the liquid slag,and fused with liquid metal in welding pool.Further it is fulfilled that all cross section metallurgical bonding can be realized between beam and column.   

    Keywords:Anode steel stub;Electroslag welding;all cross section metallurgical bonding

     

    电解铝麻豆三级片在线观看是电解铝生产中预焙阳极电解槽的关键构件,直接影响电解铝生产的效率和经济效益。在铝电解生产工艺中,麻豆三级片在线观看的主要作用是夹持阳极碳块,并给电解槽传输强大的直流电流。以国内应用较为普遍的400KA电解槽为例,通过每个钢爪的平均电流达到了8000A。且麻豆三级片在线观看的工作温度较高,以裸露在电解质外的钢爪横梁为例,其工作温度也在250℃以上,钢爪腿部的温度最高更是达到了500℃以上。因此麻豆三级片在线观看不仅需要具备良好的导电性能,良好的力学性能指标同样非常重要。通过改进麻豆三级片在线观看的制造工艺来提高其使用性能,对降低电解铝的生产成本有着重要意义。

    1 传统生产工艺

    1.1 铸造麻豆三级片在线观看

    长期以来国内电解铝麻豆三级片在线观看普遍采用中频炉炼钢+消失模铸造的方法进行生产,该技术主要存在以下缺陷:

    (1)由于中频炉炼钢对于材料成分的控制不严,使新铸钢爪中S、P、C、Mn、Cr等影响材料导电性的元素普遍超标严重,从而导致铸造麻豆三级片在线观看导电性能降低。

    (2)消失模铸造过程中排气工艺的不稳定性,使得铸造麻豆三级片在线观看中存在夹杂、气孔等铸造缺陷,也会影响钢爪的导电性和强度。

    (3)普通铸造钢爪一般不进行变质处理和正火处理,得到的铸态组织普遍晶粒粗大,使其力学性能大大降低,加剧了铸造麻豆三级片在线观看在热状态下的形变内弯现象的发生,甚至从钢爪横梁处断裂造成早期破损;

    (4)变形导致修复难度增加,成本提高;

    (5)铸钢生产会产生S、P等有害元素超标的废气排放,造成环境污染。

    1.2 焊接麻豆三级片在线观看

        1为国内电解铝企业普遍使用的一种4爪结构麻豆三级片在线观看。采用人工焊接工艺生产麻豆三级片在线观看,存在着一些不可逾越的障碍。


    1471097473939333.jpg 

    1:人工电焊生产钢爪示意图1-钢爪横梁;2-熔焊区;3钢爪腿


       如图2所示,人工电焊生产麻豆三级片在线观看的步骤是将待焊接的钢爪腿打出30度角,25mm深的坡口。

    1471097593997739.jpg

     

    2:人工电焊生产钢爪示意图 

        

        如表1所示,由于焊接钢爪的焊接面积比较大,往往会出现未焊透及夹渣等现象。因此,人工焊接工艺生产麻豆三级片在线观看存在以下重大缺陷:

     

     

    1 不同种类钢爪的直径及截面

    钢爪直径/mm

    140

    155

    160

    170

    180

    钢爪截面/mm2

    15386

    18860

    20096

    22687

    25434

    (1)使用寿命短。由于人工电焊修复的钢爪存在明显的冶金缺陷无法克服,焊缝在高温电解液的冲刷下易被腐蚀,使麻豆三级片在线观看的使用寿命降低。矫直困难。

    (2)人工电焊修复的钢爪由于焊接质量在使用矫直机矫直的过程中很容易在焊缝处断裂。国产麻豆成人AV质量不稳定。

    (3)由于人工电焊方法修复工作的质量在很大程度上取决于电焊工的技术素质和认真程度,所以不同电焊工焊接的电解铝麻豆三级片在线观看质量不同,就是同一个电焊工在同一天焊接的几个电解铝麻豆三级片在线观看腿质量也不同。

    2 电渣熔焊工艺

    2.1 电渣熔焊原理

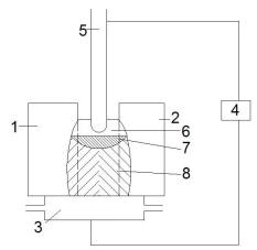
    电渣熔焊是电渣冶金的分支之一。电渣熔焊是利用电流通过熔渣时产生的电阻热作为热源进行熔焊的方法。其主要工艺过程是在铜质水冷结晶器、底水箱和两个焊接面所组成的区域内加入固态或液态熔渣,将自耗电极的端部插入其中,当自耗电极、熔渣和底水箱通过短网与变压器形成供电回路时,便有电流从变压器输出,通过液态熔渣。由于上述供电回路中,熔渣的电阻相对较大,占据了变压器二次压降的大部分压降,从而在渣池中产生了大量的焦耳热,使其处于高温熔融状态。由于渣池的温度远大于金属的熔点,从而使自耗电极的端部的金属逐渐加热熔化,熔化的金属聚集成液滴,在重力的作用下,金属液滴从自耗电极的端头脱落,穿过渣池进入金属熔池。与此同时两个焊接表面的金属也逐渐熔化,并在水冷结晶器的强制冷却作用下,材质相同的两部分液态金属逐渐凝固,形成焊接区域。熔焊过程中,一方面,须焊接工件的两端也是作为结晶器的一部分直接与熔渣接触两侧的水冷结晶器壁强制冷却,熔焊面与水冷结晶器接触的表面会形成一层渣壳;另一方面,待焊接工件的两端是作为结晶器的一部分直接与熔渣接触,由于其冷却能力较弱,熔渣不会凝固,而始终处于熔池上方,由熔池的熔合线像结晶器焊缝宽延伸,不会在熔焊区域形成夹层。在正常熔焊期间,电流从电极进入渣池后,要通过金属熔池和凝固钢锭再由底水箱和短网返回变压器。由于电渣冶金的特点,金属与熔渣之间要发生一系列的物理化学反应,从而可以去除金属中的有害杂质元素和非金属夹杂物。熔焊区域内的金属从下而上逐渐凝固,金属熔池和渣池就不断向上移动,上升的渣池使结晶器内壁和钢锭之间形成一层渣壳,它不仅使熔焊区域的表面平洁光滑,而且降低了径向导热,有利于自下而上的顺序结晶,改善了熔焊区域内部的结晶组织,最终实现全截面冶金结合的目的。

     

     

     

     

     

     


    图3:电渣熔焊原理示意图.jpg 


    3:电渣熔焊原理示意图1-钢爪腿;2-钢爪横梁;3-底水箱;

    4-变压器;5-自耗电极;6-渣池;7-金属熔池;8-熔焊区域

     

    2.2 电渣熔焊的熔渣

        钢爪横梁与钢爪腿的焊接需要克服了普通浇铸钢爪所存在的夹渣、砂眼、气孔等缺陷。电渣以其独特的工艺方式,为各元素的氧化还原,以及有害杂质的去除,提供了充分的热力学和动力学条件。首先要求熔渣应具有适宜电阻值;其次要求熔渣具有较低的熔点;第三熔渣应具有很好的流动性。因此综上所述,渣系选择CaF2+Al2O3的二元渣系,即ANF-6渣系。在此基础上添加微量的CeO2可以起到以下效果:

    (1)电渣熔焊过程中含稀土的熔渣电阻值较高、熔点低、流动性好,易形成渣池;隔绝空气,有效避免焊接过程中的二次氧化,提高金属熔化速度,有利于降低能耗。

    (2)另一方面,稀土元素Ce可以使熔焊区域组织晶粒细化、均匀、改善焊接区域的导电性能。由CeO2、CaF2、Al2O3组成,其中各成分按质量百分含量为:CeO2:2-5%、CaF2:68-70%、Al2O3:25-30%。

    2.3 电渣熔焊的结晶器设计

    电解铝麻豆三级片在线观看的焊接较为复杂,

    (1)焊接位置较为狭窄,焊接过程中的冷却控制不好钢爪横梁就会发生变形,影响使用;

    (2)每个钢爪腿与横梁之间的距离不能有偏差,要在结晶器内对钢爪腿进行固定;

    (3)麻豆三级片在线观看的结构主要有三种:4爪、6爪、8爪,结晶器的设计需要适应各种不同钢爪的腿的焊接。

        考虑到以上三点的特殊要求,麻豆成人AV在线网设计了一种新型的组合式结晶器:其材质为纯铜,以四爪钢爪的焊接为例,结晶器的上半部分和下半部分均为长方形箱体,电极入口设在上半部分,同钢爪腿与横梁的焊接位置相对应。结晶器的上半部分与下半部分沿钢爪腿垂直方向通过螺栓装配,与钢爪横梁和钢爪腿的两端共同组成焊接成型区域,焊缝口尺寸可根据不同结构的钢爪进行相应的调整。这种水冷组合式结晶器装配简单,可操作性强,确保熔焊过程中的冶金质量,避免了缩孔、气体等铸造缺陷的发生。

    2.4 熔焊工艺制度的确定

    (1)生产前准备

    将水冷组合式结晶器与钢爪腿和钢爪横梁组合在一起,确保在熔焊时不发生漏钢现象。焊接面应打磨出新鲜金属表面。

    自耗电极用与麻豆三级片在线观看相同材质的钢板切割制成,尺寸为:20mm×80mm,焊接在假电极头上,其用量应能保证熔焊一组钢爪腿使用(根据不同结构的钢爪四爪、六爪、八爪),确保自耗电极和假电极的焊缝部分不能熔化进入渣池。

    (2)渣量

    化渣前应调好石墨电极,保证整个化渣过程中电极位于结晶器中心,并加入第一批渣料。以电渣熔焊生产140mm钢爪为例,化渣供电制度电压为45V,电流为1500~2000A。尽管焊缝口尺寸140mm×40mm,但实际熔焊区不只发生在焊缝口的范围内,而是在140mm×(60100mm,因此因此.jpg。为保证正常电渣过程,渣量G是一个关键参数,应按照式(1)确定:

     (1).jpg         (1)                                      

    (2).jpg         2

    (3).jpg               3


    式(1)中 式(1).jpg,


    则.jpg,因此,对于单个钢爪腿的熔焊,渣量应为1~1.5Kg。

    3)熔焊电流与电压

    熔焊电流可以按照式(4)平均线电流密度与金属熔池直径的乘积来计算,平均线电流密度可以取经验值200。使用的熔渣为ANF-6,熔焊电压可以按照其经验公式(5)来进行计算。

    (4).jpg               (4

     (5).jpg               (5

    则熔焊电流的计算值为2389A,熔焊电压为32.78V。而在实际生产中液态熔渣进入结晶器后,手动调整电流为1200~2500A,电压为36V;正式进入熔焊阶段,电流稳定在2500A,设备自动运行,电压为38V。单个钢爪腿熔焊完成后,手动停止下降电极,等电流到零位后,手动控制移开电极,水冷仍持续进行。将自耗电极移至下一个熔焊位置,准备下次焊接。

    3 电渣熔焊钢爪

    经过反复的试生产摸索,电渣熔焊140mm电解铝麻豆三级片在线观看取得了成功。对电渣熔焊工艺生产的电解铝麻豆三级片在线观看进行了多项检测均优于普通铸造钢爪和人工电焊钢爪,对比结果如下:

    (1)横切剖面对比见图3,由图中可以清晰的看到,电渣熔焊实现了钢爪腿与钢爪横梁的全截面焊接,而人工焊接的钢爪腿与钢爪横梁间有一条明显的未焊接面。



    图4:电渣熔焊(左).jpg图4:与人工电焊(右)生产的麻豆三级片在线观看腿剖面.jpg

    4:电渣熔焊(左)与人工电焊(右)生产的麻豆三级片在线观看腿剖面

    (2)使用超声波探伤仪对焊缝进行检测,按规定的测量方法以探头的移动距离测得的缺陷长度,如果底波波形超过AVG曲线,则判定焊缝有缺陷。图4(左)中是对电渣熔焊钢爪进行超声波探伤检测的波形图,从左到右的三条底波依次为焊接区域上表面回波、焊接区域下表面回波、地面波,三条波形均未超过AVG曲线,据此可以判定焊接效果良好;图4(右)中是对人工电焊钢爪进行超声波探伤检测的波形图,焊接区域上表面和下表面回波均超过AVG曲线,据此可以判定焊接区域内存在缺陷。超声波探伤检测的波形图与钢爪横切剖面的结果相对应,因此以上方法可以作为超声波探伤判断电渣熔焊麻豆三级片在线观看焊接质量的依据。


    图5:电渣熔焊(左).jpg图5:与人工电焊(右)生产的麻豆三级片在线观看腿超声波擦伤波形图.jpg

     

    5:电渣熔焊(左)与人工电焊(右)生产的麻豆三级片在线观看腿超声波探伤波形图

     

    (3)力学性能对比见表2,对电渣熔焊工艺焊接的钢爪腿与普通铸造工艺生产的钢爪腿各5组进行对比测试,矩形拉伸试样的尺寸为2mm×10mm×70mm,由表中的数据可见,电渣熔焊的麻豆三级片在线观看焊缝位置的力学性能要好于普通铸造工艺生产的麻豆三级片在线观看。

    (4)导电性能对比见表3,对电渣熔焊工艺生产的钢爪与普通铸造工艺生产的四爪170mm钢爪各10组,使用铁碳压降仪对每个钢爪腿的导电性能进行对比测试,测试电流为200A,持续时间10S,测试时气温-5℃。由表中数据可见,电渣熔焊的麻豆三级片在线观看其导电性能要明显优于普通铸造工艺生产的麻豆三级片在线观看。

     

     

     

    2 两种不同焊接方法焊接截面的力学性能对比

    生产工艺

    编号

    R/M Pa

    A/%

    屈服强度/M Pa

    抗拉强度/M Pa

    电渣熔焊

    1

    466

    19

    280.34

    487

    2

    487

    22

    305.44

    536

    3

    472

    19.5

    283.61

    512

    4

    488

    22.5

    308.09

    542

    5

    482

    22

    303.82

    528

    平均值

    479

    21

    296.26

    521

    人工电焊

    1

    408

    7.5

    264.65

    412

    2

    423

    8.5

    270.30

    454

    3

    405

    6.5

    252.82

    406

    4

    398

    6.5

    243.86

    421

    5

    426

    8.5

    271.07

    497

    平均值

    412

    7.5

    260.54

    438

     

     

      

     

    3 电渣熔焊钢爪与普通铸造钢爪导电性能对比

    序号

    电渣熔铸钢爪压降(mv)

    序号

    传统铸钢钢爪压降(mv)

    序号

    电渣熔铸钢爪压降(mv)

    序号

    铸钢钢爪压降(mv)

    A1-1

    1.04

    B1-1

    1.15

    A6-1

    1.11

    B6-1

    1.15

    A1-2

    1.08

    B1-2

    1.27

    A6-2

    0.99

    B6-2

    1.20

    A1-3

    1.05

    B1-3

    1.21

    A6-3

    0.92

    B6-3

    1.10

    A1-4

    1.08

    B1-4

    1.00

    A6-4

    1.06

    B6-4

    1.26

    A2-1

    1.18

    B2-1

    1.20

    A7-1

    1.16

    B7-1

    1.34

    A2-2

    1.07

    B2-2

    1.26

    A7-2

    1.12

    B7-2

    1.38

    A2-3

    1.04

    B2-3

    1.21

    A7-3

    1.12

    B7-3

    1.24

    A2-4

    1.09

    B2-4

    1.43

    A7-4

    1.12

    B7-4

    1.34

    A3-1

    1.11

    B3-1

    1.38

    A8-1

    1.11

    B8-1

    1.50

    A3-2

    1.07

    B3-2

    1.25

    A8-2

    1.08

    B8-2

    1.18

    A3-3

    1.01

    B3-3

    1.24

    A8-3

    1.02

    B8-3

    1.02

    A3-4

    1.08

    B3-4

    1.50

    A8-4

    1.12

    B8-4

    1.10

    A4-1

    0.99

    B4-1

    1.23

    A9-1

    0.95

    B9-1

    1.30

    A4-2

    1.03

    B4-2

    1.06

    A9-2

    1.01

    B9-2

    1.31

    A4-3

    0.98

    B4-3

    1.21

    A9-3

    1.02

    B9-3

    1.32

    A4-4

    1.07

    B4-4

    1.12

    A9-4

    1.09

    B9-4

    1.34

    A5-1

    1.07

    B5-1

    1.24

    A10-1

    0.95

    B10-1

    1.20

    A5-2

    1.10

    B5-2

    1.30

    A10-2

    1.10

    B10-2

    1.19

    A5-3

    1.12

    B5-3

    1.26

    A10-3

    1.12

    B10-3

    1.14

    A5-4

    1.10

    B5-4

    1.45

    A10-4

    1.12

    B10-4

    1.37

    均值

    1.068


    1.2485


    1.6045


    1.249

    4 结论

    (1)电渣熔焊工艺操作简单、方便、工艺稳定、技术先进,为电解铝麻豆三级片在线观看的生产制造开辟了一条新路。

    (2)相对与人工电焊,电渣熔焊选择合理的工艺制度,可以避免气孔、夹渣、裂纹等缺陷,实现全截面熔焊,获得质量优良的焊缝。

    (3)相对于普通铸造工艺,电渣熔焊工艺生产的麻豆三级片在线观看的屈服强度和抗拉强度都有明显提高,导电性能方面也有较大幅度的提升。

    (4)经相关电解铝企业试用,电渣熔焊工艺生产的电解铝麻豆三级片在线观看完全达到设计要求。今后还需进一步完善其生产工艺,逐步适应各种型号麻豆三级片在线观看的生产制造,进而彻底替代传统铸造和人工电焊工艺。

    参考文献

    [1] 廖乘驹,隋明章. 用大功率板级电渣焊焊接厚大锻件的试验研究[J]. 大型铸锻件,1999,4(3):11-16.

    [2] 张振国. 电渣熔铸-熔焊法生产大直径内燃机曲轴的工艺研究[J]. 铸造技术,2005,8(3):735-738.

    [3] 姜兴渭. 电渣重熔工艺参数的确定及其诺模图[J]. 24-45

    [4] 王日昕,饶泽世. 电解铝麻豆三级片在线观看修复新技术的应用实践[J]. 轻金属,2014,9(4):53-57.

    [5] 王从曾,赵天德,贾柏林,. 提高麻豆三级片在线观看导电性能的途经[J]. 轻金属,2002,10(7):37-39.

    [6] Daniel Richard, Mario Fafard, René Lacroix, Pascal Cléry, Yves Maltais. Aluminum reduction cell anode stub hole design using weakly coupled thermo-electro-mechanical finite element models, Finite Elements in Analysis and Design, Volume 37, Issue 4, April 2001, Pages 287-304, ISSN 0168-874X. 


    相关标签:麻豆三级片在线观看

    最近浏览:

    在线客服
    二维码

    扫描二维码

    分享
    欢迎给麻豆成人AV在线网留言
    请在此输入留言内容,麻豆成人AV在线网会尽快与您联系。
    姓名
    联系人
    电话
    座机/手机号码
    网站地图